Ford is engineering its upcoming portfolio of inexpensive EVs with a new, focused strategy. I can’t think of a better way to illustrate it than this new “shifter” patent our own Joel Feder discovered earlier this week. At first blush, this looks like (and even sounds like) a manual gearbox for an EV, but after a closer look at the patent, it’s far more than that—and a perfect example of the mantra Ford has embraced in the name of reducing manufacturing complexity:
“The best part is no part.”
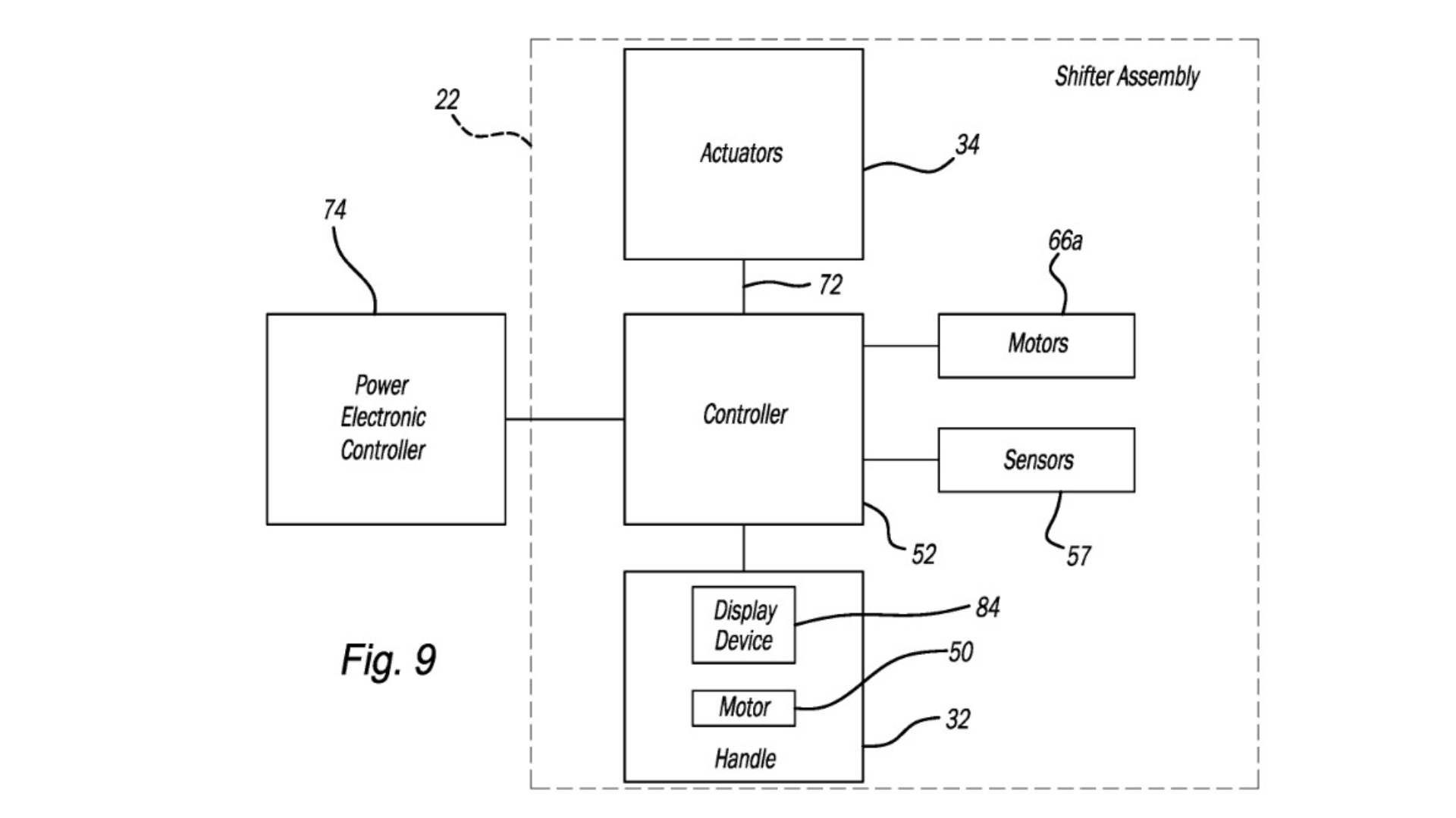
Put simply, this means that a part should not exist if it serves only one function. What does this “shifter” design have to do with that? This is definitely a part, after all. Well, there’s a second line to that mantra that very much applies here: “The second-best part is one that performs multiple functions.” To justify its inclusion, each designed component must instead be integral to multiple functions. And indeed, this “shifter” appears to perform all of the functions.
It’s part shifter, part drive mode selector, and 100% digital. There’s no physical connection to any component of the drivetrain here. It’s all computers—and sometimes that makes us sad. Ford even acknowledged as much in its patent documentation:
“As electric vehicles increase in power, operators may desire alternative modes and capabilities of engagement with the electric vehicle,” Ford said. “For example, electric vehicles lack operator-to-vehicle physical feedback that is advantageous in conventional motor vehicles.”


Yep, I’m in that sentence. Nope, I don’t like it. Ford’s “summary” of this shifter’s functionality is effectively four-pages long and reads like a poorly translated technical manual for a lost 1980s arcade game that nobody ever figured out how to play. But with a little imagination, it’s not hard to visualize a shifter with a traditional H- or straight-line pattern that has toggles to allow it to select something other than gears. Throw in a rotating crown or bezel and you have a drive mode selector. Maybe you can twist it.
Add a few lights and sounds and it’ll double as a Bop-it! Look at me, I’m inventing! Step aside, Ford. I’m calling dibs on the Fidget Shifter™.
Call me old-fashioned, but if I want a stick, I want a stick. The manual connection to the driveline is the entire point. But that doesn’t make sense in an EV. Sure, automakers have experimented with manual gearboxes in electric prototypes, but everything that has come to market so far has been some sort of electronic approximation—and one that is not universally appreciated. The very notion of a manual gearbox in an EV usually pushes enthusiasts into one of two camps: “Why?” and “Why not?”
The Jeep Magneto concept was a perfect illustration of the “Why?” camp’s argument. It was an expensive, heavily reinforced transmission sourced from the Dodge Challenger Hellcat, and it performed no meaningful function whatsoever due to the electric motor’s immense torque. Any gear would do, and without the need to synchronize ICE engine revs to a spinning driveline, the clutch pedal was essentially for decoration.
If you’re the “Why not?” type, then Honda and Toyota may be more your speed. Both are aiming for a slightly less primitive implementation—and may yet bring something to market.
I can’t help but notice the fact that Ford chose a sedan silhouette for its patent application diagrams, though the eagle-eyed among you will probably recognize that outline as a last-generation Taurus—which, despite being offered with a 350-horsepower turbocharged V6, was never sold with a manual transmission. Put another way, don’t read too much into the visual subject matter here—or into the patent itself, realistically. Not every idea makes it out of the lab.
Got a news tip? Let us know at [email protected]!
Read the full article here
